新肇庆网www.newzqw.com

热图推荐

12轮疯抢!佛山老板入主肇庆,盘活遗留宗地亿元打造5栋...

[复制链接]

昨天 12:45 51 0

中介梁小姐 发表于 昨天 12:45 |阅读模式

中介梁小姐 楼主

昨天 12:45



肇庆有一个新项目规划公示!

该项目是鼎湖·悦景峰小区,用地约1.39万平,拟建5栋住宅,建设单位是肇庆市利鼎房地产开发有限公司。


9ea2c95bde3780cc59876996ac9ba388.jpg


该小区容积率为2.91,机动车停车位有273辆。


1a53316391e00d60f55d3b432145fe62.jpg


5栋住宅行列式排开,总高17或26层,


bc7ab59aa2a733c20f04f53b17606907.jpg


另外,该项目在今年2月通过备案,总投资1.5亿元,主要建设住宅、商业、物业管理用房、地下车库等。


cb7727ed45116c86a9fae7d9a79eba97.png


值得一提的是,该项目用地,原为天湖丽景花园二期未开发宗地,曾6次上架拍卖平台,首次起拍价高达约1.7亿元。



4ef07a62b3c8a3c513ddfb598d868de8.png


出让文件提到,该宗地建筑布局应符合原审定的规划总平面,一、二期应作为一个小区统一管理,不得设置围墙进行分隔。


f642969024d6cf4bb7b3f49dc4655237.jpg


因此,我们能从规划图看到,该项目形状“有点奇怪”。


395882317580e6db2992f46b070d7dc3.jpg


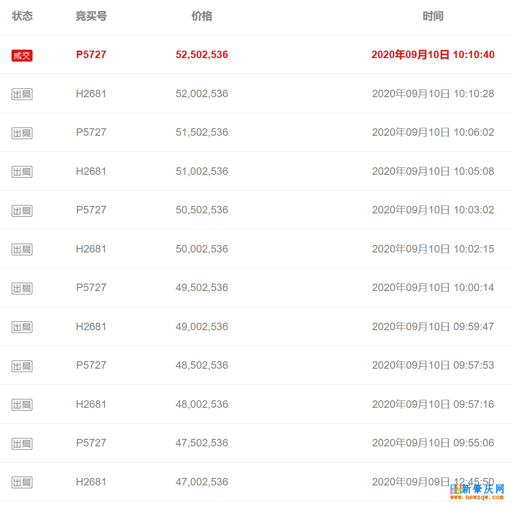
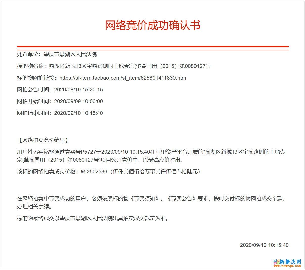
回顾2020年9月,在第6次拍卖上,二期宗地历经12次竞价成交,最终由霍铭枢以成交价5250.2536万元拍下,溢价率约11.7%。


5ee7a7fb8686018743c1fc12c311b3ad.png


4bae61595836874f0f1c534e5f1940a3.png


天眼查查得,这位霍生就是肇庆市利鼎房地产开发有限公司的实际控制人,另外,目前其还控股佛山2家公司,涉及房地产业、金属制业等。


92d957fcf7b1a1ed1b28cd8490dbfe16.png


—— END ——


回复

使用道具 举报

发表回复

您需要登录后才可以回帖 登录 | 立即注册

返回列表 本版积分规则

:
注册会员
:
856133@qq.com
:
未填写
:
未填写
:
未填写

主题27

帖子29

积分145

图文推荐

  • 发布新帖

  • 在线客服

  • 微信

  • 客户端

  • 返回顶部